

【热水管道增压泵SGR】产品简介:
SGR热水型管道泵适用于暖房、锅炉等行业的高温热水增压循环。使用温度140℃以下。该泵是为了高层建筑增压送水,解决管道压力过低而研制的新式立式单级离心泵,比目前应用的卧式离心泵具有很大的优越性。由于采用先进的机械密封,电机主轴直接按装叶轮,帮有漏损少、效率高、耗电省、结构紧凑、体积小、重量轻、装修方便,并可根据扬程与流量的需要采用并串联使用等特点。该泵做为常规离心泵的换代产品,代替了多种老式泵,目前已广泛应用于各行业,已成普遍趋势。
【热水管道增压泵SGR】型号意义:

【热水管道增压泵SGR】使用条件:
1、进口管水压不大于3公斤/厘米2。
2、水质为清水,不应有纤维或固体颗粒,对热水应为软水。
3、介质温度:冷水不低于0℃。
4、周围环境温度不超过±45℃。
5、电源电压为380V,部分为220V。
注意:选用时按使用介质的情况选择相应型号;对于特殊介质,订货时应特别注明,以便厂家帮助选择或特殊加工。
【热水管道增压泵SGR】产品用途:
SG型立式管道增压泵主要适用于高层建筑,园林喷灌,管道增压,冷热水循环,易燃易爆液体与腐蚀性液体输送及各种锅炉,供水、暖通、化工、石油管道设备配套。
(1)SG普通型管道泵(冷水)适用于高层建筑增压送水,园林喷灌、冷却塔上水、远距离输水、制冷冲洗、浴室等冷暖流水循环加压。使用温度80℃以下。
(2)SGR热水型管道泵适用于暖房、锅炉等行业的高温热水增压循环。使用温度140℃以下。
(3)SGP耐腐蚀型管道泵是输送腐蚀介质的不锈钢管道泵,适用于食品、制药、酿造、化工等行业的工艺流程中使用。使用温度100℃以下。
(4)SGB防爆型管道泵适用于石油、化学液体无腐蚀性易燃易爆液体输送。使用温度80℃以下。
(5)SGPB防腐防爆型管道泵适用于化工、化学液体等带腐蚀性易燃易爆液体输送。使用温度140℃以下。
【热水管道增压泵SGR】故障原因及排除方法:
|
故障 |
原因 |
排除方法 |
|
1、水泵不出水 |
注入水泵的水不免,旋转方向不对,叶轮流道堵塞。 |
再往水泵内注水,输通叶轮流产,调正旋转方向。 |
|
2、水泵流量不足 |
水泵部分淤塞,转数太低,叶轮损坏,出口阀开度过大。 |
清洗耳恭听水泵及管子,更换叶轮,增加水泵轴转数,调节出口阀。 |
|
3、出口压力不足 |
液体中有空气,转速太低叶轮损坏,出口阀开度过大。 |
排除液体中空气,增加泵转速,更换叶轮,调小出口阀。 |
|
4、泵消耗功率过大 |
机械缺陷如运转间隙过小,电机轴弯,螺栓松动等,泵在太大的流量下工作即泵在远低于额定扬程下工作。 |
检查机械部分及时调整处理,调节器正出口阀使泵在额定流量和扬程附近工作。 |
|
5、水泵振动 |
管道系统支撑不好,叶轮部分堵塞造成不平衡产生气蚀,液体中有空气。 |
检查泵支撑部门,拧紧螺母,输通叶轮使其平衡,排除空气。 |
|
6、水泵漏水 |
机械密封损坏,O型圈损坏,泵体漏水。 |
更换机械密封及O型圈,焊接泵体漏水处。 |
|
7、水泵噪音过重 |
轴承过热缺油,水泵负荷过生重。 |
轴承处加油,按4排除。 |
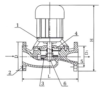
【热水管道增压泵SGR】结构图:
|
|
结 构 |
【热水管道增压泵SGR】安装:
装配与拆卸
1.把所有待装的零部件擦洗干净。
2.在电机主轴上装机械密封,在机械密封动、静环配合的表面,加少量洁净的透平油或20号机油。
3.装叶轮,用叶轮螺母紧固。
4.装"0"型圈,把泵体与电机端盖用螺栓紧词。注意使叶轮前盖板与泵体间隙为2十0.5毫米,叶轮进口外圈与泵体保证一定的运转间隙。
5.拆卸顺序与此相反。
安装与使用
1.用橡胶垫圈与螺栓把泵体两端法兰与管路法兰连接好,即完成按装。为了使用与维修方便,在泵的进、出口管路上均应按装一只调节阀。
2.打开进口调节阀, 使水进入泵中,以保持密封腔内充满液体(否则会研损密封),关闭出口阀。
3.接通电源,点动确定正确转向。
4.转向确定后,使泵启动、运转。
5.调节出口阀开度, 使泵在设计点附近运行,据泵的额定流量和扬程附近。〔为此,最好在出口法兰附近装一只压力表)。注意:本泵严禁缺水运转,以免损坏密封件。
永嘉县海坦泵业有限公司
永嘉县海坦泵业有限公司专业提供热水管道泵SGR,热水管道泵SGR规格等产品信息,欢迎来电咨询!
海坦泵业 All Copy Right 2011-2021 ICP备案号:浙ICP备11022796号-2
销售热线:0577-66996886,66996887 公司传真:0577-66995778